Der
PC-BetriebstundenzählerHome Labor Röhren HF Logbuch Bastelecke

Wenn ein Gerät sich bewährt,
war der Plan nicht verkehrt.
(Dietrich Drahtlos)
Dir Uhr stellt man auf 12 Uhr und schaltet dann den PC ein. Am Ende des Tages kann man dann leicht ablesen, wie lange der PC lief. Nur in ganz harten Fällen, wenn der PC länger als 12 Stunden läuft, könnte es zu einer Fehlablesung kommen.

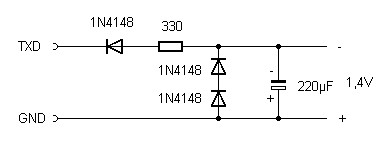
Also gut, die Batterie der Uhr wird entfernt. Statt dessen werden zwei Drähte an gelötet. Der blaue Draht liegt am Minuspol, der rote am Pluspol. Die serielle Schnittselle liefert an der Datenleitung TXD am Pin 3 des 9-poligen Steckers im Ruhezustand -10V. DerMasseanschluss GND liegt am Pin 5. Jetzt muss man nur noch dafür sorgen, dass die Uhr die gewohnte Spannung von ca. 1,5 V bekommt. Drei Si-Dioden, ein Widerstand und ein Elko reichen aus, um die Betriebsspannung auf etwa 1,4 V zu stabilisieren. Die Durchlassspannung einer Si-Diode liegt nämlich bei ca.0,7 V.


Batteriedeckel zu, fertig!

Oh, jetzt habe ich zwei Stunden gebraucht, um diese Seite zu erstellen, die Uhr zeigt es eindeutig. Hätte ich nicht gedacht ...